- 产品详情
- 图片集锦
简述:
空心轴上密集排列着楔型中空桨叶,热介质经空心轴流经桨叶。单位有效容积内传热面积很大
类别:
桨叶干燥机
详细说明:

概述:
空心轴上密集排列着楔型中空桨叶,热介质经空心轴流经桨叶。单位有效容积内传热面积很大,热介质温度从-40℃到320℃,可以是水蒸汽,也可以是液体型:如热水、导热油等。间接传导加热,没有携带空气带走热量,热量均用来加热物料。热量损失仅为通过器体保温层向环境的散热。楔型 桨叶传热面具有自清洁功能。物料颗粒与楔型面的相对运动产生洗刷作用,能够洗刷掉楔型面上附着物料,使运转中一直保持着清洁的传热面。桨叶干燥机的壳体为W型,壳体内一般安排二到四根空心搅拌轴。壳体有密封端盖与上盖,防止物料粉尘外泄及收集物料溶剂蒸汽。出料口处设置一挡扳,保证料位高度,使传热面被物料覆盖而充分发挥作用。热介质通过旋转接头,流经壳体夹套及空心搅拌轴,空心搅拌轴依据热介质的类型而具有不同的内部结构,以保证好的传热效果。
结构示意图:

应用:
桨叶干燥机已成功地用于食品、化工、石化、染料、工业污泥等领域。设备传热、冷却、搅拌的特性使之可以完成以下单元操作:煅烧(低温)、冷却、干燥(溶剂回收)、加热(融化)、反应和。搅拌 桨叶同时又是传热面,使单位有效容积内传热面积增大,缩短了处理时间。楔型桨叶传热面又具有自清洁功能。压缩--膨胀搅拌功能使物料混和均匀。物料沿轴向成"活塞流"运动,在轴向区间内,物料的温度、湿度、混合度梯度很小。
● 用导热油做热介质,桨叶干燥机可完成低温煅烧工作。如:二水硫酸钙(Ca2SO4·2H2O)煅烧转化为半水硫酸钙(Ca2SO4·1/2H2O)。碳酸氢钠(NaHCO3)经煅烧 转化为纯碱(Na2CO3)等。
● 通入冷却介质,如水、冷却盐水等即可用来冷却。如:使用于纯碱行业的桨叶式凉碱机,取代老式的空气冷却凉碱机,节省了能源及尾气处理设备,降低了操作费用 ,还可用于钛、镍铁合金粉及各种粉粒状物料的冷却。在单台机里可以将物料从1000℃冷却到小于40℃。
● 干燥,设备主要的功能,不使用热空气,使溶剂回收、能源消耗、环境控制处于易处理的理想状态。对需回收溶剂、易燃易氧化热敏性物料尤为适应。已广泛用于精细化工、石化、染料行业。
● 轴向区间内,温度、湿度、混合度的均匀性,使得设备可用来加热或融化,或进行一些固体物料反应。在复合肥及变性淀粉行业均已成功使用。 桨叶干燥机可用来对食物和面粉进行处理。单位有效容积内大的加热面积,很快就将物料加热到温度,避免了长时间加热而改变物料品质。
适应物料:
石化行业:聚烯烃粉体、聚碳酸酯树脂、高、低密度聚乙烯、线型低密度聚乙烯、聚缩醛颗粒、尼龙6、尼龙66、尼龙12、醋酸纤维、聚苯硫醚、丙烯基树脂、工程塑料、聚氯乙烯、聚乙烯醇、聚苯乙烯、聚丙烯、聚脂、聚甲醛、苯乙烯~丙烯腈共聚、乙烯~丙烯共聚。
环保行业:PTA污泥、电镀下水污泥、锅炉烟灰、制药厂废渣、糖厂废渣、味精厂废渣、煤灰。
饲料行业:酱油渣、骨基饲料、酒糟、食品下角料、苹果渣、橘子皮、豆粕、鸡骨饲料、鱼粉、饲料添加剂、生物渣泥
食品行业:淀粉、可可豆、玉米粒、食盐、变性淀粉、药品。
化工行业:纯碱、氮磷钾复合肥、高岭土、膨润土、白碳黑、碳黑、磷石膏、氧化氟化钠、硝酸钙、碳酸镁、、氢氧化铝、硫酸钡、硫酸钙、碳酸钙、染料、分子筛、皂素。
特点:
● 桨叶干燥机能耗低:由于间接加热,没有大量携带空气带走热量,干燥器外壁又设置 保温层,对浆状物料,蒸发1kg水仅需1.22kg水蒸汽。
● 桨叶干燥机系统造价低:单位有效容积内拥有巨大的传热面,就缩短了处理时间,设备尺寸变小。就极大地减少了建筑面积及建筑空间。
● 处理物料范围广:使用不同热介质,既可处理热敏性物料,又可处理需高温处理的物料。常用介质有:水蒸汽、导热油、热水、冷却水等。既可连续操作也可间歇操作,可在很多领域应用。
● 环境污染小:不使用携带空气,粉尘物料夹带很少。物料溶剂蒸发量很小,便于处理。对有污染的物料或需回收溶剂的工况,可采用闭路循环。
● 操作费用低:该设备正常操作,仅1-2人/天。低速搅拌及合理的结构。磨损量小,维修费用很低。
● 操作稳定:由于楔型桨叶特殊的压缩--膨胀搅拌作用,使物料颗粒充分与传热面接触,在轴向区间内,物料的温度、湿度、混合度梯度很小,从而保证了工艺的稳定性。
动画演示:
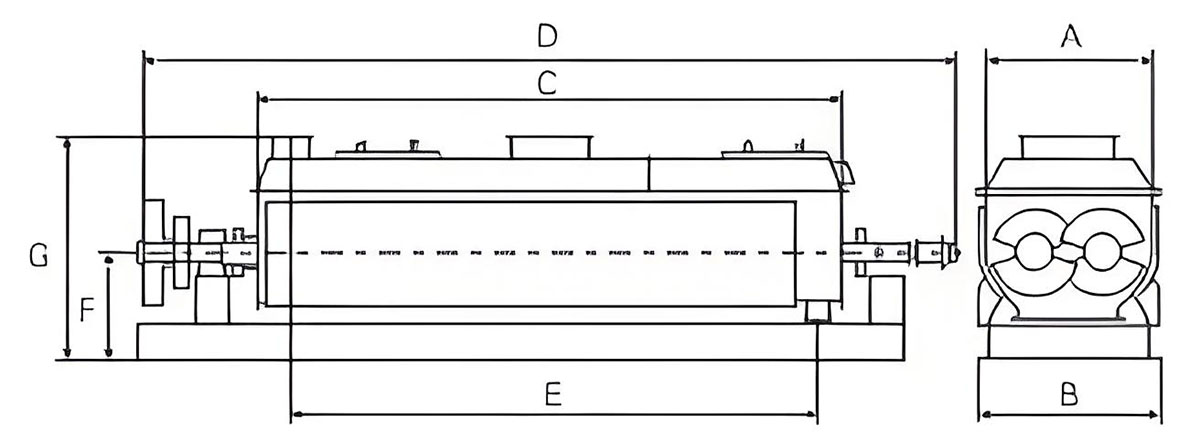
| 特性参数表 | ||||||||
| 型 号 | KJG-2.7 | KJG-9 | KJG-13 | KJG-18 | KJG-24 | KJG-29 | KJG-36 | KJG-41 |
| 传热面积m2 | 2.7 | 9 | 13 | 18 | 24 | 29 | 36 | 41 |
| 有效容积m3 | 0.06 | 0.32 | 0.59 | 1.09 | 1.53 | 1.85 | 2.42 | 2.8 |
| 转速范围r.p.m | 15-30 | 10-25 | 10-25 | 10-20 | 10-20 | 10-20 | 10-20 | 10-20 |
| 功 率kw | 2.2 | 4.0 | 5.5 | 7.5 | 11 | 11 | 15 | 15 |
| 器体宽A mm | 306 | 584 | 762 | 940 | 1118 | 1118 | 1296 | 1296 |
| 总宽B mm | 736 | 841 | 1066 | 1320 | 1474 | 1474 | 1676 | 1676 |
| 器体长C mm | 1956 | 2820 | 3048 | 3328 | 3454 | 4114 | 4115 | 4724 |
| 总长D mm | 2972 | 4876 | 5486 | 5918 | 6147 | 6808 | 6960 | 7570 |
| 进出料距E mm | 1752 | 2540 | 2768 | 3048 | 3150 | 3810 | 3810 | 4420 |
| 中心高F mm | 380 | 380 | 534 | 610 | 762 | 762 | 915 | 915 |
| 总高G mm | 762 | 838 | 1092 | 1270 | 1524 | 1524 | 1778 | 1778 |
| 进汽口N吋 | (2)3/4 | (2)3/4 | (2) 1 | (2) 1 | (2) 1 | (2) 1 | (2) 1 | (2) 1 |
| 出水口O吋 | (2)3/4 | (2)3/4 | (2) 1 | (2) 1 | (2) 1 | (2) 1 | (2) 1 | (2) 1 |
| 特性参数表 | |||||||||
| 型 号 | KJG-48 | KJG-52 | KJG-62 | KJG-68 | KJG-73 | KJG-81 | KJG-87 | KJG-95 | KJG-110 |
| 传热面积m2 | 48 | 52 | 62 | 68 | 73 | 81 | 87 | 95 | 110 |
| 有效容积m3 | 3.54 | 3.96 | 4.79 | 5.21 | 5.78 | 6.43 | 7.39 | 8.07 | 9.46 |
| 转速范围r.p.m | 10-20 | 10-20 | 10-20 | 10-20 | 5-15 | 5-15 | 5-15 | 5-15 | 5-10 |
| 功 率kw | 30 | 30 | 45 | 45 | 55 | 55 | 75 | 75 | 95 |
| 器体宽A mm | 1474 | 1474 | 1651 | 1652 | 1828 | 1828 | 2032 | 2032 | 2210 |
| 总宽B mm | 1854 | 1854 | 2134 | 2134 | 2286 | 2286 | 2438 | 2438 | 2668 |
| 器体长C mm | 4724 | 5258 | 5410 | 5842 | 5461 | 6020 | 5537 | 6124 | 6122 |
| 总长D mm | 7772 | 8306 | 8865 | 9296 | 9119 | 9678 | 9119 | 9704 | 9880 |
| 进出料距E mm | 4420 | 4954 | 4953 | 5384 | 5004 | 5562 | 5080 | 5664 | 5664 |
| 中心高F mm | 1066 | 1066 | 1220 | 1220 | 1220 | 1220 | 1220 | 1220 | 1220 |
| 总高G mm | 2032 | 2032 | 2362 | 2362 | 2464 | 2464 | 2566 | 2566 | 2668 |
| 进汽口N吋 | (2)11/2 | (2)11/2 | (2)11/2 | (2)11/2 | (2)11/2 | (2)11/2 | (2)2 | (2)2 | (2)2 |
| 出汽口0吋 | (2)11/2 | (2)11/2 | (2)11/2 | (2)11/2 | (2)11/2 | (2)11/2 | (2)2 | (2)2 | (2)2 |
注:部分参数设计时视不同物料有所调整
以注:部分参数设计时视不同物料有所调整,以设计为准。
流程图:

- 返回上一页
- 上一篇:FG系列立式沸腾干燥机
- 下一篇:PLG系列盘式连续干燥机









